- Общество
- Политика
- Бизнес
- Авто
- Спорт
- Происшествия
- Наука
- Афиша
- Культура
- Новости компаний
- Погода
- ЖКХ
- Статистика
- Народный календарь
- Дороги и транспорт
- Закон и порядок
- Образование
- Экономика и финансы
- Благоустройство
- Здоровье
- Недвижимость
- Работа
- Фотофакт
- Экология
- СВО
- Наше будущее
Пермские учёные и студенты разработали и протестировали устройство для производства снегоблоков
Установку для прессования снега разработали и протестировали учёные и студенты Пермского национального исследовательского политехнического университета (ПНИПУ).
Результаты работы исследователи опубликовали в журнале «Вестник ПНИПУ. Прикладная экология. Урбанистика» (2022). В работе приняли участие студентки строительного факультета Пермского Политеха Софья Мырзина и Ксения Озерова, а также их научный руководитель, доцент кафедры «Общая физика», кандидат технических наук Олег Зверев. Устройство запатентовали.
«Сейчас для уборки снега чаще всего используют два способа: безвывозной и вывозной. Первый способ неэкологичен и не обеспечивает беспрепятственного движения транспорта и безопасности людей. Во втором случае снег вывозят на специально оборудованные полигоны, что позволяет не загрязнять окружающую среду. Его плотность составляет от 250 до 350 кг/ м3. Самосвал с грузоподъёмностью 20 тонн может вывозить не более 7 тонн снега за один раз. Мы предложили увеличить его плотность, чтобы повысить рациональность работы техники», – рассказывает руководитель проекта, доцент кафедры «Общая физика», кандидат технических наук Олег Зверев.
Исследователи разработали и протестировали технологию формирования снегоблоков высокой плотности — до 540 кг/м3. Благодаря использованию нового устройства «снежные кирпичи» становятся прочнее, что упрощает их подъем и транспортировку.
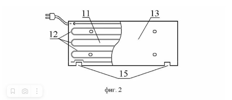
«Наше устройство включает объёмный корпус с верхней и боковыми стенками. Две из них во время прессования снега остаются неподвижными, а параллельные стенки перемещаются за счёт привода уплотнительного механизма. Он состоит из винтовых шпилек с гайками. Панели корпуса устройства представляют собой основу из фанеры с пазами, в которые вставлен нагревательный кабель общей мощностью два киловатта. Он закрыт листом оцинкованной стали», – объясняет одна из исследователей, студентка третьего курса строительного факультета Пермского Политеха Софья Мырзина.
По словам разработчиков, изобретение представляет собой подогреваемую опалубку с возможностью прессования снега. После формирования снегоблока нужно выключить нагрев и разобрать установку, а затем блок замерзает. Далее все операции повторяются на новом месте. Когда накапливается достаточное количество снегоблоков, их поднимают с помощью кран-борта. Стропы продевают через канавки в нижней ледяной части снегоблока.
Спрессованные с помощью разработанного устройства «кирпичи» будет проще утилизировать с улиц городов. Из снежных блоков можно также возводить сооружения высотой до трёх метров, которые используют при строительстве зимних автодорог, аэродромов и снегозадерживающих стен.
Фото и рисунки: Пресс-служба Пермского Политеха
Популярные новости

В Пермском крае создан региональный совет по научно-технологическому развитию
Как сообщили в Минобре Пермского края, совещательный орган образован в целях обеспечения взаимодействия представителей власти, научных организаций, реального сектора экономики и общественных объединений.

Увидеть комету
Во второй половине октября жители Прикамья смогут невооружённым глазом наблюдать за кометой.

Лекарство из борщевика разрабатывается пермскими учёными
Выяснилось, что опасный сорняк борщевик Сосновского обладает высокой противогрибковой активностью.

«Кардинальные изменения в науке, культуре и искусстве»
Чайковский писатель, поэт, общественный деятель, учредитель культурно-просветительского Фонда «Светлая Идея» Владимир Павлович Чикуров официально стал членом-корреспондентом Международной академии наук и искусств, и выступил с докладом в Москве на её I научно-практической конференции.

В Прикамье повышается престиж учёных
С 2025 года докторам наук будут выплачивать по 30 тысяч рублей ежемесячно.

Определены ключевые темы Пермского инженерно-промышленного форума 2023
В рамках VIII Пермского инженерно-промышленного форума, который пройдёт в конце ноября в столице Прикамья, состоится более 50 мероприятий для представителей бизнеса и 20 научно-технических советов с участием ведущих предприятий и холдингов Прикамья и России, сообщили в оргкомитете ПИПФ.
Читайте также
Чайковский: самое интересное
Подпишитесь на наши новости